Daily Pulse
每日热点 No.20
导语与音频
Intro
点击收听AI播客,
快速get全文核心观点解读
点击收听 AI 播客
*本播客由AI工具根据本文内容一键生成,AI生成存在内容偏差,请以文本内容为准
*本播客由AI工具根据文本内容一键生成,AI生成存在内容偏差,请以文本内容为准
品牌
Brands
【甲骨文】裁员3万人背后是 AI 基建资金链承压,科技巨头"砍人补算力"模式正成为行业新常态
甲骨文启动新一轮大规模裁员,波及人数或高达 3 万人,占其全球 16.2 万员工总数的近 18%,成为 2026 年科技行业迄今最大单次裁员事件。此次裁员的直接导火索并非 AI 取代人力,而是 AI 基建投入过重导致现金流承压:公司 2026 财年资本开支上调至 500 亿美元,几乎是 2024 年的三倍。然而融资窗口随即收窄,多家美国银行因担忧债务风险停止向其数据中心项目提供贷款,股价年内下跌 26%,自由现金流转负。裁掉 3 万人每年可释放 80 亿至 100 亿美元自由现金流,这笔钱将直接补入AI基建。
来源:Oracle 员工交流
解读:甲骨文此次并非传统意义上的业绩危机,而是 AI 时代科技巨头“砍人补算力、人力换资本”战略的极端缩影,标志着行业从“人力资本驱动”全面转向“算力资本驱动”的新常态。

【索尼】推出“Playerbase”计划:将真实玩家扫描植入 PS 第一方游戏
索尼宣布推出 “Playerbase(玩家基地)” 计划,打造了将真实玩家扫描植入 PlayStation 工作室第一方游戏的专属流程,融合摄影测量、动作捕捉与玩家数据技术,让玩家从游戏测试者转变为数字化采集的游戏参与者。该计划依托 3A 游戏成熟制作技术,通过多机位拍摄打造玩家高精度 3D 模型,还原面部、身体等细节,还会采集玩家面部及肢体动作数据,用于游戏角色动画、表演制作。玩家并非以主角身份融入,而是规模化成为游戏路人、背景人物等,现身线上更新、彩蛋等场景。玩家可报名参与,经材料审核、视频面试后,首位幸运粉丝的形象将植入《跑车浪漫旅 7》,索尼还表示未来将逐步拓展该计划的覆盖范围与应用场景。
来源:https://www.ithome.com/0/936/780.htm
解读:Playerbase 不只是一次营销活动,而是游戏产业从“厂商主导创作”向“用户深度共建”的战略拐点:用成熟 3A 技术规模化整合用户数字资源,既提升内容质量、降低成本,又重构用户关系、激活社区、延长 IP 寿命,并为“数字身份 / 数字人经济”打下基础。

【腾讯】当前在基础模型层面并不领先,但微信等传统生态护城河在 AI 时代仍可能继续发挥关键作用
腾讯在本轮 AI 竞赛中并未像字节、阿里等厂商那样率先重押基础模型,而更倾向于等待模型成本下行和应用场景成熟后,再依托既有生态推进 AI 落地。随着 OpenClaw 快速走红,以及近期 Claude 相关代码泄露事件引发市场对 Agent 生态的关注,未来行业竞争重点或将逐步从单纯的大模型能力比拼,转向入口、场景、关系链和生态闭环的竞争。
在这一框架下,腾讯的核心优势并不主要来自模型本身,而在于其高频入口和庞大生态。微信拥有约14 亿月活,是国内最强的软件入口之一,叠加社交关系链、内容分发和游戏业务,天然具备承接智能体应用的土壤。腾讯判断,大模型能力可以通过持续资本开支和工程投入逐步补齐,但像微信这样高频、强关系、强支付和强触达属性的平台型入口较难复制。近期腾讯围绕 OpenClaw 的推广,以及快速推出支持微信一键接入 ToC 的 QClaw 和面向 ToB 的桌面智能体 WorkBuddy,也反映出其正加快将微信体系演进为 AI 时代的平台型入口。若这一方向成立,腾讯在 AI 时代的护城河未必弱于当前基础模型领先者。
来源:腾讯研发交流
启示:持续关注 AI 时代入口的演化方向,评估软硬件入口对终端形态、Agent 交互和生态协同的需求。

时局
Times
【日本政策】日本拟放宽个人信息使用准则,欲成为“全球最容易开发 AI 应用国家”
日本政府周二修订《个人信息保护法》,取消共享部分个人数据前必须“事先同意”(opt-in)要求。日本数字化转型大臣松本尚对此表示,通过一系列法律调整,日本将成为“全球最容易开发 AI 应用的国家之一”。新规允许机构在某些情况下,无需获得用户同意就能使用个人信息。不过本次变更仅适用于“对个人权利侵害风险较低”的数据,通常用于统计分析、科研用途。健康相关数据则可以在有助于提升公共健康的情况下,纳入适用范围。同时,新规还放宽了人脸数据的使用守则,企业可以收集面部图像,但必须说明数据如何被使用,不过不再强制提供“退出”选项。松本尚认为,现行法律是“日本发展、利用 AI 的一大障碍”,必须做出改变。他强调,如果无法获得足够数据,日本将难以开发、部署 AI 技术。
来源:https://finance.sina.cn/tech/2026-04-08/detail-inhtuqfx9560588.d.html
启示:可加速在日本布局算法训练、场景应用(如车载 AI、服务机器人),利用放宽政策快速验证商业模式。

行业
Industries
【3C 数码】AI 成 3C 数码信息新入口,对比类提问成主流
2026 年 Q1《AI 对话与消费决策》3C 数码篇报告显示,AI 对话工具已成信息获取新入口,豆包、DeepSeek、腾讯元宝位列用户使用第一梯队,移动端 APP 为主要使用方式,其信任指数超搜索引擎,70% 用户用其替代传统搜索。3C 数码场景 AI 渗透率达 41%,居 12 品类第三,用户向 AI 提问比例最高的三类问题分别是:让 AI 做产品对比、让 AI 做品牌对比、要求 AI 推荐品牌,核心诉求是获取全面、专业信息而非快速决策,还会通过多 AI 工具交叉验证答案。不过 AI 对该品类购买决策的渠道影响力仍居第七,弱于电商平台、品牌官网等。对此,3C 数码品牌需聚焦场景化参数解读、强化品牌差异化等适配 AI 营销,从流量思维转向内容思维。
来源:https://mp.weixin.qq.com/s/Gdb6BUZKcHdtu5wJxSQ1DQ
启示:品牌应从“流量思维”到“AI 适配的内容思维”,打造专业内容矩阵:针对 “对比需求”,做场景化的参数解读,而非简单罗列;强化品牌差异化,明确技术标签,助力 AI 精准推荐;围绕产品打造 “参数+评测+用户反馈+使用场景+售后”的完整信息体系,覆盖 AI 问答的全维度需求。

科技
Techs
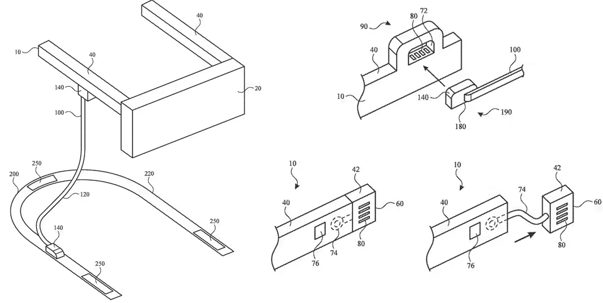
【XR 技术】苹果 Vision Pro 头显模块化专利曝光,创新商业模式
苹果 Vision Pro 头显一项名为《可连接配件的头戴式设备》的模块化设计专利获批,核心是将头显打造为可扩展平台,主机不集成全部永久性功能组件,用户可通过连接配件按需拓展功能。该设计精准解决设备重量与续航的平衡问题,用户可自主选择缩减电池容量减重、更换大容量电池适配户外、换低分辨率显示屏延长续航。同时,高带宽连接接口支持厂商开发医疗、眼科、工业制造等专业领域的专用传感器或高级摄像头,拓宽专业应用场景。商业模式上可实现 “按需组装” 和配件销售,若苹果开放硬件生态并建立相关配件认证计划,将大幅提升设备市场潜力,专利图纸显示设备主体或仅保留框架,通过机械咬合和数据接口连接各类模块。
来源:https://www.ithome.com/0/936/779.htm
解读:其“主机 + 可换模块”的按需组装模式,打破硬件功能固定化格局,将单一产品销售转向硬件底座+配件生态的持续盈利模式,拓展营收空间。同时,开放高带宽接口吸引第三方开发专业模块,能快速丰富应用场景,构建多方共赢的硬件生态,提升产品市场生命力。这一模式也推动行业从比拼硬件参数,转向以用户需求为核心的模块化、定制化发展,为消费级与专业级智能硬件融合提供新思路。


Community
评论
共 0 条
评论加载中...